本文来自微信公众号: 新浪科技 ,作者:努力码稿的小浪,原文标题:《员工砍福利,CEO涨薪资?上汽旗下享道出行IPO:三年半狂亏19亿 | 次世代车研所》
又一家网约车企业冲刺IPO,这次是上汽集团旗下的享道出行。
虽然背靠上汽、宁德时代等明星股东,但享道出行的表现并不理想。今年上半年,其收入同比下滑2.8%;另外,2022年至今,享道出行一直处于亏损状态,三年半时间累计亏损高达19.07亿元。
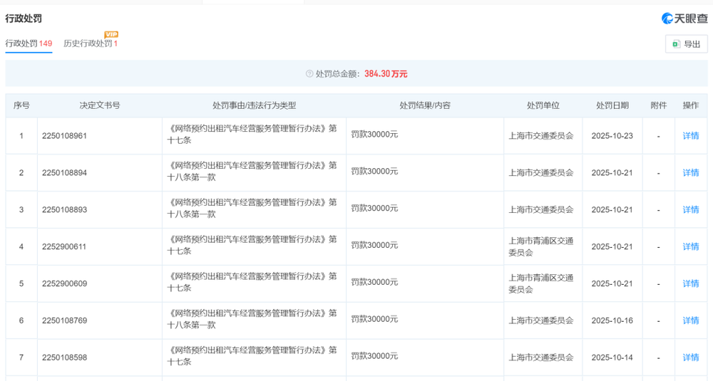
尴尬的是,享道出行的网约车业务也严重依靠聚合平台的“输血”,2022年至今,其来自聚合平台的订单占比一路攀升,今年上半年已经高达98.08%。今年5月和6月,享道出行的订单量以及订单合规率也均出现环比下降。天眼查显示,享道出行因合规问题累计遭遇行政处罚共149条。
业绩萎靡之下,享道出行将降本的“大刀”砍向了员工福利支出。对比来看,享道出行CEO倪立诚的福利待遇却逆势增长,今年上半年,他的薪酬总额从89.3万元增长至96.9万元。
上半年收入下滑,连年亏损不断
资料显示,享道出行由上汽集团发起成立,引入了Momenta、高德、宁德时代等投资者。公司提供网约车服务、车辆租赁服务、车辆销售及Robotaxi服务,打造覆盖个人出行、企业出行以及未来出行中多元场景需求的一站式出行服务平台。
招股书显示,在收入方面,2022年至2024年,享道出行的收入分别为47.29亿元、57.18亿元、63.95亿元,复合年增长率为16.3%;不过,其2025年上半年的收入同比减少2.8%至30.13亿元。
享道出行解释称,减少的主要原因为网约车服务的收入下降。数据显示,其网约车服务的收入由2024年上半年的24.28亿元减少5.4%至2025年上半年的22.98亿元,主要由于完单量减少。享道出行称,为应对不断变化的市场环境与竞争态势,作出若干业务调整,以提升自动化水平及提高运营效率,导致完单量减少,同时维持该等服务的毛利率。

《次世代车研所》栏目看到,2025年上半年,享道出行的个人网约车服务订单从2024年上半年的1.08亿下降至1.04亿单;GTV也从26.99亿元下降至26.28亿元。
从利润方面来看,享道出行处于连年亏损状态。2022年至2025年上半年,享道出行分别净亏损7.81亿元、6.04亿元、4.07亿元、1.15亿元,三年半时间累计亏损高达19.07亿元。
值得注意的是,享道出行接下来的盈利前景也不容乐观。其在招股书中表示,随着公司持续扩展业务经营以及进行研发投入及采购Robotaxi定制车,公司的销售成本及经营开支可能将进一步增加。此外,由于成为上市公司,公司预期会产生庞大的成本及开支。倘公司无法创造足够的收益或有效管理成本及开支,公司未来可能会持续产生重大亏损,净亏损可能会比往年增加。
平台“依赖症”严重,订单合规率下降
招股书显示,根据弗若斯特沙利文的资料,2024年,享道出行以交易总额(GTV)计,在国内网约车平台中排名第五。截至2025年6月30日,享道出行的网约车服务已覆盖全国85个城市。
尴尬的是,享道出行第五的排名还是在严重依赖聚合平台导流的情况下取得的,其独立App和小程序的订单“少得可怜”。目前,享道出行与包括高德打车、滴滴、百度地图、腾讯出行和美团在内的聚合平台合作接收来自个人用户的订单。
数据显示,2022年至2025年上半年,享道出行的个人网约车订单量分别为1.47亿单、1.72亿单、2.23亿单、1.04亿单;而来自聚合平台的订单分别为1.35亿单、1.59亿单、2.17亿单、1.02亿单,占比分别达91.84%、92.44%、97.31%、98.08%。
由此可见,享道出行对聚合平台的流量和订单依赖程度越来越高,这种依赖也存在风险。招股书披露,享道出行与聚合平台的协议期限通常为期一年,可通过双方协议续期。倘到期后未续期,该等协议将会终止。
当然,获取聚合平台的订单也是有代价的。《次世代车研所》栏目看到,2022年—2025年上半年,聚合平台向享道出行收取的佣金分别为2.73亿元、3.29亿元、4.42亿元、2.32亿元(2024年上半年为1.89亿元),处于逐年增加的态势。2022年—2025年上半年,享道出行的销售开支一直处于大幅增长的态势,而背后主要是由于聚合平台收取的佣金增加。

另外,《次世代车研所》栏目从交通运输部公布的数据看到,今年上半年,享道出行在一些月份的订单合规率也在下降。今年5月,享道出行的订单量环比下降6.4%,订单合规率也下降了1.9%;今年6月,享道出行的订单量环比下降4.8%,订单合规率下降1.3%。
值得注意的是,截至2025年6月30日,享道出行平台上的部分车辆及司机尚未取得必要的运输证或网络预约出租汽车驾驶员证,享道出行可能会面临行政处罚,包括罚款、整改令以及暂停或终止营运的颁令,其中任何一项均可能扰乱业务经营,并对业务、财务状况及经营业绩造成重大不利影响。

天眼查显示,享道出行的运营主体享道出行(上海)科技股份有限公司累计遭遇行政处罚共149条,处罚总金额为384.3万元,大多数处罚的原因为司机或者车辆不合规。
员工福利降了,CEO工资却涨了
业绩压力之下,享道出行也在想方设法降本增效,压缩各方面的开支。
招股书显示,享道出行的行政开支由2023年的1.56亿元减少25.9%至2024年的1.16亿元,主要由于优化行政团队结构并提高经营效率令员工开支减少1110万元;2025年上半年,行政开支由2024年上半年的7220万元减少18.0%至5920万元,主要由于优化行政团队结构并提高经营效率,促使员工开支减少670万元。
另外,享道出行的研发开支由2023年的1.70亿元减少49.6%至2024年的8540万元,主要由于优化研发团队结构,促使员工开支减少6450万元;2025年上半年,研发开支由2024年上半年的4590万元减少2.8%至4460万元,主要由于优化研发团队结构,促使员工开支减少80万元。
截至2025年6月30日,享道出行共有667名全职员工,但其并未具体披露历年的员工数量对比。不过,从历年的员工福利开支情况来看,员工整体的工资等福利开支处于逐年缩减的态势。从工资、薪金及花红来看,2022年至2025年上半年,分别为3.14亿元、2.96亿元、2.14亿元、9738万元(2024年上半年为1.11亿元)。这意味着享道出行要么裁撤了部分员工,要么对员工进行了降薪。
但作为对比的是,在2025年上半年订单和收入下降,以及员工福利待遇下降的背景下,享道出行CEO倪立诚的福利待遇却增长了。
数据显示,2024年上半年,倪立诚的工资及薪金为42.5万元,薪酬总计为89.3万元;而2025年上半年,倪立诚的工资及薪金为42.6万元,薪酬总计为96.9万元,主要是在酌情花红(奖金)方面增长较多。
业绩萎靡,福利下降,CEO却薪资上涨,享道出行的员工们恐怕要心理不平衡了。