本文来自微信公众号: 宁南山 ,作者:深圳宁南山,原文标题:《从中国人均GDP已经超过日本40%说起》,头图来自:视觉中国
最近注意到的几个事情,日本在2026年的现在还在继续不断跌落,日本在朝着失去的第四个十年迈进。
我有一个感觉,那就是东亚千年来正常的秩序是中国最为先进,富裕,然后朝鲜半岛由于和中国交往密切,所以文明程度次之,日本最为落后野蛮。
这个情况只是在近代一两百年发生了改变,日本在明治维新和19世纪末甲午战争击败中国后,一举超过了中国。
而现在,东亚的情况又在向历史的常态回归。
值得注意的是,这些年日本在逐渐向右转,从安倍晋三到高市早苗,再到去年12月18日日本《朝日新闻》报道一名在首相府工作的日本高官发表了认为“日本应当拥有核武器”(日本株式会社所属《周刊文春》网站2025年12月24日披露发表该言论的是负责核军控、核不扩散事务的首相辅佐官尾上定正)。
而值得注意的是,发表这样拥核观点的日本官员没有收到任何惩罚。
除此之外,这些年由于外国移民数量猛增,带来的日本社会反移民思潮上涨,现在日本选举,所有的候选人都会谈及移民问题,在议题上已经欧美化了。
经济上的持续下滑,外国移民的不断引进,和右翼思想发展壮大,都发生在现在的日本。
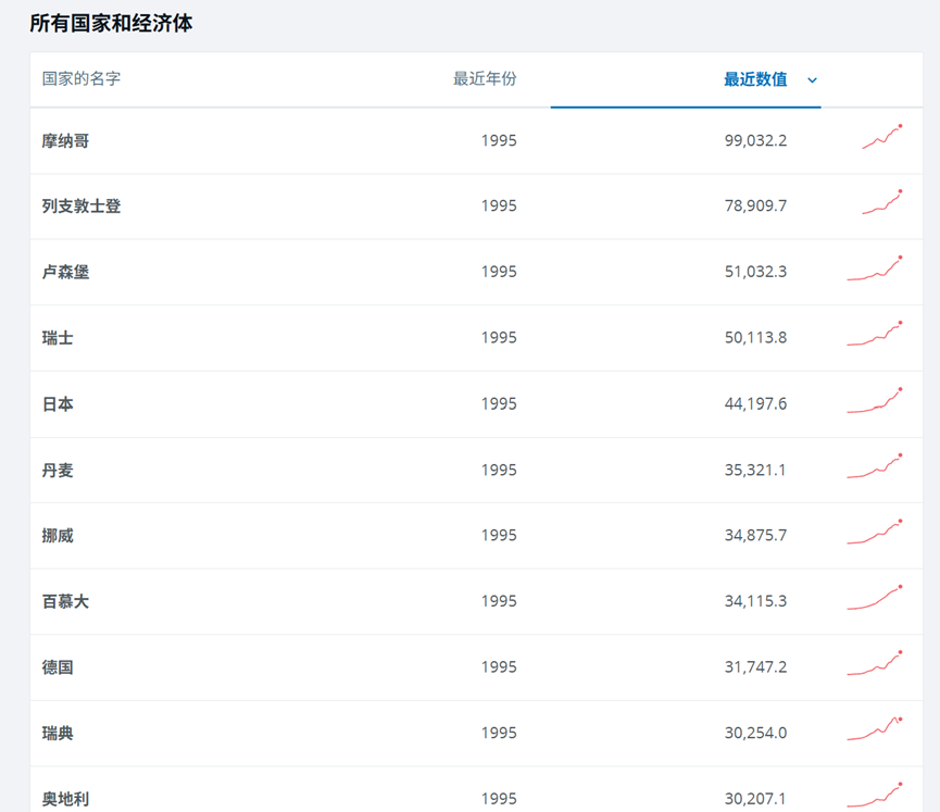
日本在1995年达到其全球经济地位的巅峰,GDP总量全球第二,人均GDP全球第五,仅仅比摩纳哥,列支敦士登,卢森堡和瑞士少一些。
下图是我在世界银行官网截的,没错日本1995年的人均GDP比瑞典,挪威,丹麦这些北欧国家都还要高,当然也比荷兰,比利时,美国,德国,法国,英国这些国家高。

而在东亚地区,1995年日本人均GDP则是毫无疑问的第一名,1995年日本人均GDP高于中国香港,中国澳门,中国台湾,韩国,而且还高出不少。
根据世界银行的数据,1995年日本人均GDP是44197.6美元,而当时东亚最接近日本的香港也只有23497.4美元,只有日本的一半多点也就是53.16%。
澳门更是只有17215.1美元,可以看出澳门在回归前人均GDP也是挺一般的,不像现在那样高的离谱。
韩国更是只有13001.7美元,只有日本的29.42%,连三分之一都不到。
中国台湾则跟韩国差不多,世界银行官网没有放台湾的数据,我在IMF(国际货币基金组织)官网上查了下,中国台湾1995年是13070美元。也是差不多日本的30%少一点。
当然中国大陆就不用说了,1995年人均GDP才612.7美元,只有日本的1.386%,反过来日本是我们的72.15倍。
著名的纪录片《含泪活着》的主人公上海人丁尚彪,就是1989年6月启程去的日本打黑工,2004年回国,在日本忍受长期的孤独呆了15年,由于没有合法身份他这15年从未回国。
在他到日本的第八年,1997年才因为女儿到美国留学在东京转机才在赴日后第一次见到女儿。2002年丁尚彪的妻子前往美国探望女儿在东京转机,在赴日13年后才第一次见到妻子,长期的分离,他的妻子都怀疑他是不是在日本另外有家庭了。
丁尚彪在2004年回国后,在上海呆了几年又去美国和女儿团聚并定居。
我在看这部纪录片时,实在是感叹这种惊人的牺牲,背后就是当时即使是上海,和日本的收入差距也太大了,在日本打工一个月的收入是上海的几百倍,没错不是几十倍,而是几百倍。
用他自己在纪录片的话说,“在日本的一天的工资,顶我在中国十个月”,十个月就是300天,这是300倍的差距了。
他这么说也并不是完全吹牛,1989年6月赴日前丁尚彪是上海一家工厂的炊事员,月薪还不到100元人民币,十个月工资也就是不到1000元。
而他在日本打工,峰值时期一天做多份兼职,工作时间超过12个小时,他自己也说一个月能寄回国高达25万日元,据此推算其收入在25-30万日元之间。
按1994年汇率改革之后全年汇率是100日元兑换8.44元人民币,一个月30万日元收入就是2.5万人民币多点,还真的就是丁尚彪出国前月工资不到100元的几百倍。
而在之后,由于日本的停滞,东亚各地区开始了追赶,按照世界银行数据:
2010年中国澳门的人均GDP首先超过了日本,中国香港则在2014年人均GDP超过了日本。韩国人均GDP则是在2022年超过了日本,中国台湾人均GDP在2024年也超过了日本(IMF数据)。
按照世界银行数据,2024年中国大陆人均GDP是13303.1美元,而日本是32487.1美元,中国大陆已经是40.95%,你没看错,14亿人口的中国大陆人均GDP居然已经突破日本的40%了。
实际上按照现在的趋势,中国在2035年极可能人均GDP超过日本,日本的人均GDP将会从东亚第一,到在东亚垫底(不好意思,我没算朝鲜)。

最近注意到的几个事情,让我感觉日本未来是真的没啥希望。首先是我查了下日本的发电量,原因是之前我写过一篇文章:《从数据看德国是不是真的去工业化了》,是从发电量判断德国是不是去工业化,答案是“是的”,因为德国2023年的发电量比2017年的巅峰下降了21.7%。
于是我就查了日本的数据,发现2024年日本发电量只有2010年历史巅峰发电量的不到84%!查询日本的发电量情况,数据来自IEA(国际能源署),这是一个主要由发达国家组成的政府间国际组织。日本的发电量在2000年为1.06781万亿度,在之后的多年内略有增长,到2010年日本达到了历史发电量的最顶峰,这一年日本发电量为1.17087万亿度电。
但之后由于2011年311海啸的影响,日本核电发电量从2011年这一年开始出现直线下降,导致日本发电量开始出现了下降,如下图,2011年海啸之后日本增加了天然气和煤电发电量,这在一定程度上弥补了核电发电量迅猛下降带来的发电量损失。但是煤电发电量在2013年达到顶峰,天然气发电量在2014年达到顶峰之后也开始走下坡路。
日本到2015年发电量下降为1.058616万亿度,比2010年的巅峰下降了1100亿度以上。到2022年发电量继续下降到1.017679万亿度。到2024年日本发电量跌破一万亿度,只有9819.93亿度,这是2010年历史最高峰发电量的83.87%,换言之比历史最高年份发电量下降了16.13%。


第二件事虽然是老生常谈,但还是得讲一下。日本电视品牌产业在过去十余年全面崩溃,只剩下松下还在苟延残喘。全球电视品牌份额已经彻底被中国和韩国两国掌控。2026年1月20日,TCL电子与索尼联合官宣签署非法律约束力的意向备忘录,拟设立合资公司承接索尼家庭娱乐业务(含电视、家庭音响等),TCL持股51%、索尼持股49%,计划2027年4月正式运营。
我想知道曾经辉煌的日本电视产业还剩下几家,查了英国市场调研机构Omdia的数据,2024年全球电视市场份额:
第一位是三星17.6%;
第二位TCL13.9%;
第三位海信12.3%;
第四位LG 10.8%;
第五位小米5.1%;
第六位索尼2.5%;
第七位松下1.0%。
此次索尼也把电视业务剥离了,日本的纯粹的本土品牌就只有松下了,但是全球份额也很低了。
在过去的十年,日本电视品牌逐渐消失,2016年:夏普被鸿海(富士康)收购66%股权2017年:东芝(Toshiba/REGZA)将电视业务95%股权出售给海信,成立合资公司TVS REGZA中国海信(控股)使用REGZA品牌,业务运营与技术研发由海信主导。
2018年:日立(Hitachi)其实早在2012年9月底就关闭了其最后一家电视工厂,改为找OEM厂家生产自有品牌电视(Wooo品牌),并在2018年10月开始停止销售自有品牌电视,其零售店改为销售索尼旗下品牌电视,自己完全退出彩电市场。
2021年:三菱电机(Mitsubishi Electric)于9月停止向主要零售商发货,退出电视市场,并最终在2024年3月完全退出。2026年1月:索尼宣布剥离电视业务,电视业务转入和TCL的合资公司,并且TCL控股。日本仅存的松下电视也在2025年2月宣布寻求出售电视业务,至今未找到买家。
第三件事就是,日本人的生活水平下降如此厉害,2024年日本出国旅游人数竟然只有2019年的三分之二。
我们从日本人外出旅游就可以看出来,这也是衡量生活水平的一个指标之一。
曾经日本人前往世界各地旅游,可以说财大气粗。
但现在日本出境旅游的人数比中国台湾还少,只有韩国的不到一半。
随着日本经济长期低迷和日元贬值,日本人现在能出国旅游的人也少了。
说起入境旅游,很少听到关于日本游客来中国旅游的报道,当然这跟中日关系一直就一般有关系。
那中国要不要大力吸引日本游客呢,一个有意思的数据是,日本出境旅游人数并不多。
由于日元汇率近年来大幅贬值,2025年日元兑换美元汇率比2019年大约跌了30%,换句话说日本人出国旅游的费用也就贵了30%,加上日本经济持续多年的低迷。
2024年整个日本出境旅游人数才1300万人次左右,仅仅恢复到了2019年的64.7%。
这个数字小到什么程度呢?
2024年中国台湾,人口仅为日本五分之一不到,其出境旅游人数也高达1685万人次,比日本还多接近30%,而且已经恢复到2019年的98%的水平。
2024年人口不到日本一半的韩国,出境旅游人数高达2869万人次,也恢复到了2019年的水平,这个数字竟然是日本的2.2倍。
也就是不管是中国台湾还是韩国,出境旅游人数都大大超过日本,韩国甚至是日本的两倍以上。
我查了下,中国大陆2024年出境人次(所有目的出境)高达1.4589亿人次,是日本的10倍以上。
即使考虑到其中66.6%是到比较近的港澳,剩下的也有4877万人次是到国外,而且是在高速增长。

而反过来,现在外国人入境日本旅游业已经成为日本仅次于汽车的第二大出口收入行业了。
第四件事也很有代表性,随着中国的发展,收入水平在逐渐上升,曾经在中国很火爆的去日本当研修生打工,现在越来越没有吸引力了,现在日本的外国研修生,已经从多年前的大部分是中国人,变成了现在最大群体是越南人和印尼人,合计占了接近70%。研修生(现在日本官方叫技能实习生,不过日常习惯仍说研修生)是日本向外国人推出的工作项目,其实就是利用海外的廉价劳动力在日本工作。
根据日本法务省的数据,2014年,在日研修生总数约16.7626万人,其中中国人约10万余人,比例高达近65%。但到2025年6月底,日本外国研修生人数增长到了44.9432万人,构成变成了:
越南,198,417人,占比44.1%;
印度尼西亚,110,965人,占比24.7%;
菲律宾,40,348人,占比9.0%;
缅甸,35,682人,占比7.9%;
其他国家/地区,64,020人,占比14.2%。
可以如今已经是东南亚人为主,越南+印尼占比接近70%,中国人已经被归集到“其他”里面统计了。

这么说,还是有些抽象,为什么中国人不再去日本当研修生了呢?
我们可以看一个具体的例子,这是我刷抖音的时候看到的:
一个在日本当研修生打工的23岁(2025年)中国河南妹子(抖音账号“徐徐每天开开心心”)发了自己在日本打工的工资(2025年9月)。她是没有技术,没有学历,不懂日语,靠交中介费出去的。

妹子本人工作21天(请假一天),加班时间31个小时,税前一共工资是23.0996万日元,扣除了健康保险,厚生年金(离开日本的时候会退给本人),雇佣保险,以及房租+水电气后到手是18.2731万日元。按照当时2025年9月30日的1日元=0.04817人民币汇率,到手的18.2731万日元相当于8802.2元人民币。
而现在又是几个月过去了,日元汇率又跌了不少,按照1月17日汇率是1元日元=0.0441人民币的汇率,这样18万多点日元的到手工资就是8058.4元人民币。吃饭按照妹子自己说的3万日元算(应该是公司有食堂所以便宜),那就是吃饭一个月用掉1323元人民币,一个月能存大约6700元人民币。由于她出来是给中介交了三万五千元人民币的费用,整个合同是三年,算下来相当于平均每个月存下来的工资有1000元是付中介费了,那就是平均每个月能存大约5700元人民币。
这还是在这三年没有任何娱乐,没有任何日常消费的情况下才能存这么多,不过即使在最宝贵的年华三年没有任何娱乐,也总要每年坐飞机回一次家吧,因此每个月平均存不到那么多..........
除了自己的工资条外,妹子还发了她一个研修生前辈同事薪资,该同事出勤是满勤22天(没有请假),加班时间是56.25个小时(比妹子的31小时长),同时因为有夜班所有还有“深夜割增”(夜班补助)22841日元。
总共应发工资是28.7450万日元,到手是23.1817万日元。
按照9月30日的汇率,应发的28.745万日元=1.3846万人民币,到手的23.1817万日元=1.1167万人民币。
按照1月17日的汇率,应发的28.745万日元相当于12676.5元人民币,也就是一万两千多。
到手的23.1817万日元相当于10223.1元人民币。
扣掉吃饭三万日元也就是1300多元人民币,每个月能存大约8900元人民币。再扣掉平均每个月1000元的中介费,就是每个月能存7900元。
当然这三年总要坐飞机回家,平时总要有些娱乐吧,但是如果要娱乐,日本的消费又比中国的贵,因此实际存不了那么多。

不仅如此,日本的研修项目工作地往往都在比较偏的地方,应该说在最为青春美好的年龄这样忍受三年拿这个薪资,对现在中国人尤其是年轻人的吸引力已经很低了,无怪乎现在日本研修生已经是东南亚的越南,印尼人为主了。
我觉得,对于一个国家来说,发展才是硬道理,各个产业在持续升级,技术在不断进步,经济总量蛋糕在不断做大,这个国家就还有希望。
日本现在面临最大的问题就是经济不增长了,蛋糕不再继续做大了。
其他像中国,美国等都有各自的经济问题,但总体来说,经济总量还是在不断增长的。
我个人觉得现在看日本经济最重要的经济指标,就是丰田,本田等几个日本头部汽车企业的财报,这些企业的财报好,日本还能多撑几年,这些企业的财报一旦快速恶化,日本经济会崩的更快。
另外更为重要的是,一个国家经济走向崩溃,就会很容易右翼思想和军国主义思想壮大,当年的德国,日本,意大利等都是例子,日本现在就有这个趋势,这是值得我们高度警惕的。
如果日本敢于拥有核武器,或者真的武装干涉中国统一,我们都必须为了中华民族的永续生存要敢于出手对其进行军事打击,要让日本明确的知道这一点,从而使其在我们期望的轨道上继续运行,逐渐的走向经济落败,回到其在东亚正常的地位。
