本文来自微信公众号: 旅界 ,作者:theodore熙少,题图来自:视觉中国
停航、欠薪、卖船,国产邮轮的三重死法。
01
2026年2月,上海宝矿国际大厦写字楼里,几名年轻人在蓝梦邮轮LOGO下展开了一条白色欠薪横幅。
这张照片流传出来的时候,蓝梦邮轮已经停航将近3个月。

蓝梦邮轮员工供图
近日,据多位蓝梦邮轮前员工向旅界披露,去年12月底停航后,该公司HR开始逐一面谈员工,要求签署解除劳动合同协议,名义是"经济性裁员",并承诺12月工资会在2月10日发放,1月工资与赔偿金则在3月30日到账。
然而,2月10日,第一笔薪资没有出现在众多蓝梦员工账户里,且至今尚未发放。
据一名蓝梦邮轮负责销售的前男性员工透露,岸上员工约200人,欠薪总额初步统计超过1000万元,单人欠款则从数万到30余万不等,涵盖工资、报销及离职赔偿。
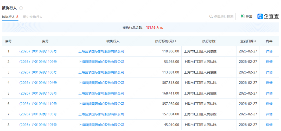
另据企查查数据显示,上海蓝梦国际邮轮股份有限公司近期有8起案件成为被执行人,其中多起执行立案时间集中在2026年2月27日。

一名持有无固定期限劳动合同、在蓝梦工作多年的前女性员工称平台数据只是冰山一角,目前岸上员工已分四批前往法院立案,第一批调解书正是于2月27日获得法院登记立案。
而她本人属于第三批,个人被欠款约34万元,上周刚完成法院提交,尚未收到立案通知,称"感觉公司是有点恶意不给的意思了,烦的很。"
蓝梦邮轮陷入欠薪泥淖,事情的起点,则要往前推到2025年12月25日。
当天,蓝梦邮轮以系统性硬件升级与保养为由宣布停航。
彼时,消息来得突然,合作旅行社、港口、物供方毫无准备,有员工向旅界爆料称,蓝梦拖欠旅行社及合作方的款项已超过5000万元,但停航通知下来前,去年11月还在发布2026年航线计划。
值得一提的是,旅界此前曾报道,今年3月,蓝梦邮轮宣布旗下蓝梦之歌号将转手给俄罗斯运营商,经营从海参崴到库页岛、勘查加半岛的俄罗斯远东航线。
但有熟悉蓝梦情况的前员工披露,“目前还没完成交易,即使船卖了,也不会兑现(欠薪),原因是卖船的钱进的是第三方公司。”
该员工还称横幅上同时点名国航远洋,是因为蓝梦邮轮实控人王鹏与这家公司关系颇为密切。
公开资料显示,王鹏同时担任福建国航远洋运输集团股份有限公司副董事长,其父王炎平为该公司董事长。
企查查股权穿透显示,王鹏通过福建中运投资集团持有蓝梦约40%股权,另两家股东为各自持股30%的舟山群岛国际邮轮港有限公司与青岛聚融产业投资有限公司。

但2月9日,蓝梦邮轮法人及董事长完成工商变更,王鹏的名字换成了林恩杰。
屋漏偏逢连夜雨,据多家邮轮业内媒体报道,今年2月,蓝梦之歌轮又因约59.9万美元燃油欠款在北海被法院扣押。
而这一幕,对于长期观察中国本土邮轮发展的人来说,并不陌生。
蓝梦之歌的姊妹船蓝梦之星,前身正是上海辉煌旅游发展有限公司实际控股的钻石国际邮轮旗下辉煌号。
上海海事法院记录显示,该船196名船员曾被欠薪约1200万元,船东弃船拒不担保,最终于2020年4月完成司法变卖。
蓝梦随后接盘,改名复航,一艘船,换了公司牌子,却走了一条相似的路。
再往前,海航旗下的海娜邮轮也曾因债务纠纷在韩国短暂遭扣,最终退出本土运营,渤海邮轮2014年购入中华泰山号入局,连续亏损数年后,2023至2024年间全面剥离邮轮业务,卖船出清,重回人车摆渡主业。
十年一轮回,从海娜、钻石到蓝梦,中国本土邮轮的倒下似乎总伴随着欠薪、扣船与诉讼,体面退场成了中国邮轮行业最难书写的结局。
02
剖析这些国内邮轮公司死因,看起来各有各的病历。
但如果你把它们放在一起看,会发现一个共同的底层问题,这门生意,或许从一开始就没被当成一门生意来做。
邮轮是什么生意?我们不妨先说一个数字。
一艘中型邮轮造价,大约在5亿到10亿美元之间,这还只是买船的钱,买下来之后,船员工资、燃油、港口费、维护保养、航线运营,每年的固定支出为5000万-1亿美元,且淡旺季明显,上座率波动,稍有不慎现金流就会断。
邮轮业还有一个特点,它的回报周期以十年计,容不下急性子。
举个例子,同样在中国上海母港运营的MSC地中海邮轮是从货运转型的,但他们没有借助资本市场大规模融资套现,意大利Aponte家族把这门生意当成命运共同体,一代接一代地干,几乎保持着每年新增一艘新船的节奏。
今天,MSC已是全球最大邮轮集团之一,旗下船队超过20艘。
在华运营的美资邮轮公司皇家加勒比逻辑也相近,持续的船队迭代与全球航线布局背后,有着完善的运营体系来支撑,成立至今已经超过58年。
再回头看中国玩家,问题就清楚了。
进入邮轮业的资本,通常带着两到三年的耐心,而邮轮业需要的,是十年以上的经营,两者根本不在同一个时间维度上。
于是,中国资本进来买了国际市场上的老破小旧船,起个好听的名字,遇见地缘政治或者消费者不买账,母公司开始战略收缩,首先出清的必然是邮轮业务。
这几乎是中国邮轮产业十余年不变的固定剧本。
中国邮轮没有耐心背后,更深的问题或许在于,国内大多数本土邮轮公司,并非以邮轮运营为主业起家的专业团队。
他们背后是地产商、港口方、航运集团的多元化尝试,邮轮对他们来说,只是一个新赛道入场券,而非压上身家性命的主战场。
一旦市场不顺,撤退的决心来得比想象中更快。
说白了,船是资产,也是负担,卖掉还算体面,卖不掉就变成欠薪源头。
在这个背景下,国产大型邮轮爱达邮轮的出现,值得认真看待。
2024年1月,爱达·魔都号首航,这是中国第一艘自主设计建造的大型邮轮,建造方是中国船舶集团旗下上海外高桥造船有限公司,运营经验引入了国际成熟团队。
爱达是一张大国制造的名片,更重要的是,中国第一次在邮轮供应链上游建立了话语权,原来,国内邮轮市场核心资产也可以不从二手市场捡别人淘汰的船。
今年3月,爱达·花城号又计划完成出坞,坐拥两艘国产大型邮轮,这支船队的雏形算是有了。

爱达当然还在爬坡,首航两年多,口碑也在慢慢建立,但说盈利,现在还早。
不过这也正常,邮轮这门生意,前期亏损几乎是写在基因里的,没有哪家公司一上来就赚钱,真正的问题是亏到第三年、第四年,股东还坐不坐得住?
今年3月,北京产权交易所信息显示,招商维京游轮正在转让招商伊敦号,底价29亿元,中国第一艘悬挂五星红旗的豪华邮轮也就此画上了句号。

与蓝梦相比,伊敦号背后的招商蛇口至少选择了体面退出。
但这个行业需要的是有人愿意真正留下来深耕,否则相继倒在黎明前的故事只会一次次重复上演。
03
招商伊敦号摆上北京产权交易所货架,其实释放了一个极其强烈的行业信号。
连招商蛇口这样财力雄厚的巨头,在经历试水和巨额减值后,也决定剥离这块资产。
这恰恰印证了邮轮运营那道极高且隐秘的门槛。
在这个重资产修罗场里,单纯有钱解决不了所有问题。
伴随着投机玩家的出局和跨界资本理性撤退,中国邮轮母港正在经历一场极其彻底的洗牌。
那么,留下来的人,现在面对的是一个什么样的市场?
外资这边,MSC荣耀号和皇家加勒比海洋光谱号持续深耕上海,两家公司在中国市场的时间都超过十年,本地供应链、中文服务、会员体系,一点一点搭起来的东西,后来者想复制,没有三五年根本摸不到门。

MSC荣耀号船上表演/旅界实拍
国资这边,爱达拿着国产牌子,背靠中国船舶集团,正在一步步把船队做大。
夹在中间的空间越来越窄了,梦想号、理想号这些是否会步蓝梦后撤,值得关注。
这还只是现在的局面,往后看,这个行业还会面临几个变量,任何一个处理不好,都是麻烦。
地缘政治一直是中国母港邮轮头上的达摩克利斯之剑,最近中东局势持续紧张,导致MSC神女号上200余名中国乘客滞留只是小插曲,对国内运营的邮轮公司来说,日本已经是禁地,若与韩国关系紧张,才是致命之伤。

迪拜帆船酒店/旅界实拍
要知道2017年萨德事件导致赴韩旅游几乎腰斩,当时在中韩航线上押注重金的邮轮公司,损失惨重,这不是没有先例。
与此同时,今年以来釜山这些热门港口,近年来邮轮接待量已经接近饱和,部分港口开始对大型邮轮限制靠泊频次,母港城市能不能帮运营商开拓新的目的地资源,直接影响产品的差异化空间。
事实上,这个行业发展到今天,正在倒逼邮轮运营商想新玩法。
毕竟几条航线翻来覆去跑,但目的地就那几个,船票价格一轮轮价格战里越打越低,这门生意的利润空间就是这样一点一点被磨掉的。
好在变化已经开始发生,近期,MSC地中海邮轮在荣耀号上试水了全新的破局之法,正式开启了上海与釜山的双母港常态化运营。
这招挺有意思,上海负责招揽中国游客,釜山负责招揽韩国游客,同一艘船上,中国客人前往济州和釜山游玩,而韩国客人则把上海作为入境游的目的地上岸观光消费,相当于给庞大船体装上了双引擎。
反观国内大部分邮轮公司,依然停留在最基础的卖船票阶段。
所以如果有人问,未来国内邮轮市场还有没有新进入者的机会,答案大概是有,但画像已经很清楚了。
要么是真正的专业玩家,有国际运营经验和长线资金,进来就是打持久战的,要么是跟爱达类似的路径,背靠国家战略,把邮轮当成产业链来做。
靠热情和短期资本进来的海娜、钻石、蓝梦,这个行业已经用十年时间反复证明了结局。
归根到底,中国邮轮产业不缺进场勇气,留下来的意志更重要。
