本文来自微信公众号: 五道口供应链研究院 ,作者:鲁顺,原文标题:《五矿发展2025年扣非亏1.46亿,只做贸易,真的越来越难了!》
3月30日,五矿发展发布2025年年报。营收528.23亿元,同比下降21.44%;归母净利润1910.38万元,同比下降84.80%;扣非归母净利润-1.46亿元。
一家营收超过500亿的央企上市公司,每收100元只能留下不到4分钱,扣掉非经常性损益后,主业实际上已经在亏钱。
很多人会说,这是钢铁行业不景气造成的。没错,行业下行确实是原因,但如果只看到这一层,就看不到五矿发展真正的问题。
目录
01五矿发展这几年发展一直在走下坡路
02真正的差距,是从什么时候开始拉开的?
03建筑行业下行是主要原因
04钢铁贸易,本来就是大流水、小利润、重资金
05真正把利润吃掉的,不只是市场,还有保理和减值
06监管趋严,原有增长逻辑正在失效
07集团的战略定位与支持力度影响了发展
08五矿发展自己也在告别旧逻辑
09中信金属给出了另一种答案
10国企贸易公司,不能再按旧逻辑做贸易
01五矿发展这几年发展一直在走下坡路
五矿发展的经营业绩不是今年突然不行了。往前看,2022年营收786.45亿元、归母净利3.40亿元,2023年营收789.96亿元、归母净利1.99亿元,2024年营收672.36亿元、归母净利1.26亿元,到2025年进一步收窄。
营收在连续下滑,利润质量下滑更快,尤其扣非利润已经连续两年为负。规模不但没带来利润,连规模本身也在收缩。
从财务数据看,五矿发展的困境不是某一年的意外,而是持续恶化的结构性危机。2022年到2025年,营收从786亿降到528亿,降幅32.8%;归母净利从3.40亿降到0.19亿,降幅94.4%;扣非归母净利从2.30亿降到-1.46亿,已经连续两年为负。
更值得注意的是利润质量的变化。2022年扣非净利还有2.30亿元,2023年降到0.49亿元,2024年变成-2.87亿元,2025年虽然收窄到-1.46亿元,但主业依然没有真正赚到钱。
账面上的归母净利润,2025年有1910万元,但扣非后亏损1.46亿元,说明这点利润完全靠政府补助、减值转回、资产处置等非经常性项目撑着。
2025年非经常性损益里,政府补助约1.38亿元,单独减值测试应收款项减值准备转回约5902万元,资产处置收益约2359万元。看归母利润容易觉得还没亏,但看扣非利润就知道底层经营还是偏弱。
再看季度数据,2025年第四季度归母净利润已经转为亏损约9490万元,扣非亏损约1.14亿元,这说明年末压力其实非常明显。这不是某个季度的波动,而是全年压力在年底集中爆发的结果。
所以,五矿发展的问题不是今年突然不行了,而是这几年一路在变难。营收在缩,利润在掉,利润质量在恶化,主业造血能力在减弱。这是一个持续下行的趋势,不是一次性的冲击。
02真正的差距,是从什么时候开始拉开的?
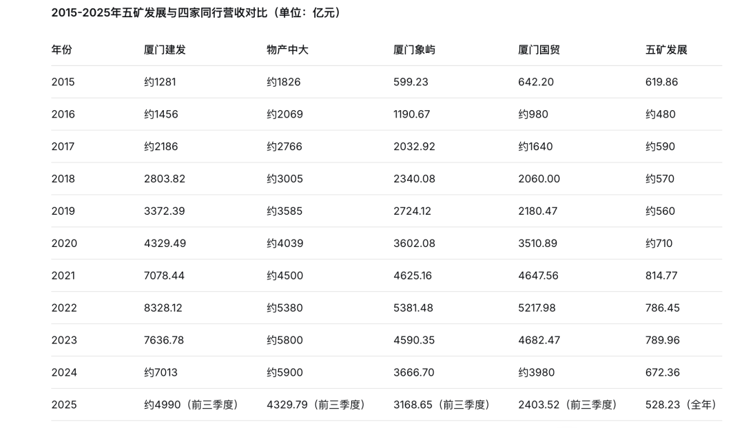
五矿发展的下滑不是最近的事。但如果只看它自己的数据,可能会觉得“行业不好,大家都差不多”。把同行近十年的增长曲线放在一起,差距就一目了然了。

这张表揭示的事实:
第一,差距不是最近才拉开的,从2016年就开始了。2015年,五矿发展营收约620亿,与厦门象屿(599亿)、厦门国贸(642亿)基本在同一量级,三家不相上下。但2016年,厦门象屿营收翻倍到1190亿,厦门国贸也增长到约980亿,五矿发展却下滑到了约480亿。就是这一年,五矿发展第一次被同行甩开。
第二,同行的增长是持续、稳定的,五矿发展的增长则是断断续续的。厦门建发从2015年的1281亿一路增长到2022年的8328亿,七年增长了6.5倍,年均增速超过30%。厦门象屿从2015年的599亿增长到2022年的5381亿,七年增长了近9倍。而五矿发展在这七年里营收几乎原地踏步,2021年814亿已是十年最高,还不如2015年以前的水平。
第三,五矿发展的峰值出现在2021年(814.77亿),此后便开始持续下滑。而同行的峰值大多出现在2022年左右(建发8328亿、象屿5381亿、国贸5218亿),此后虽然也受到行业下行影响有所回落,但回落后的体量仍在五矿发展的5-10倍以上。即便是在2025年行业最艰难的时候,厦门象屿前三季度仍有3168亿营收,是五矿发展全年528亿的6倍。
第四,增长曲线的斜率完全不同。四家同行的营收曲线是陡峭向上的,即使近年有所回落,也只是从高位小幅回调;而五矿发展的营收曲线十年间没有大的趋势性增长,只有周期性波动,且波动幅度越来越大。这种“别人在爬山、自己在平地上打转”的差距,不是行业周期能解释的。
03建筑行业下行是主要原因
2024年和2025年年报里都写得很直接,房地产市场持续低迷,下游工程建设用钢需求疲弱,钢材和冶金原材料价格下跌并长期低位震荡。
行业层面,2025年全国粗钢产量同比下降4.4%,折合粗钢表观消费量同比下降7.1%,钢材综合价格指数全年均值同比下降9.1%。这对靠钢材流通和供应链服务吃饭的公司,是直接压顶的。
房地产下行,工程用钢需求走弱,这是整个黑色产业链都在面对的问题。房地产投资增速从2021年的高点一路下滑,到2025年已经连续多年负增长。工程建设用钢占钢材消费的比重超过50%,房地产一旦不行,工程用钢需求就会大幅下降。
五矿发展的主营业务里,钢材产品收入2025年同比下降28.95%,铁矿石收入同比下降18.13%,这个降幅不是公司自己的问题,而是整个市场需求在萎缩。
钢价低位震荡,对贸易公司的杀伤更大。2025年钢材综合价格指数全年均值同比下降9.1%,价格不但在跌,而且在低位反复震荡。对贸易公司来说,价格单边上涨或者单边下跌都还好办,最怕的就是低位震荡。
价格上涨时,库存增值,贸易商可以赚到价差;价格下跌时,只要跌得快,贸易商可以快进快出,控制敞口。但低位震荡时,价格既不涨也不跌,或者小幅波动,贸易商既赚不到价差,又要承担库存跌价的风险,资金还被占用,这是最难受的状态。
行业整体越来越难,这是客观事实。但如果只看到行业下行,就会觉得五矿发展的问题是市场造成的,等市场好了就能恢复。问题在于,五矿发展的困境在大宗贸易行业中处于什么位置?
看看其他几家大宗供应链龙头公司2025年前三季度的表现。厦门象屿营收2974亿元,扣非净利润2.82亿元,净利率不到0.1%;物产中大营收4386亿元,归母净利润约24亿元,贸易板块净利率同样极低;
建发股份营收5021亿元,归母净利润约15亿元,净利率约0.3%。对比之下,五矿发展2025年毛利率3.50%,净利率0.04%,扣非后亏损,这些指标在行业中处于偏弱位置,但并非极端异常。
这说明什么?说明整个大宗贸易行业都在面对同样的压力,五矿发展不是个案,而是行业困境的一个缩影。但也正因为如此,更需要追问的是,在同样的行业环境下,为什么有的公司还能保持微利,有的公司却已经扣非转负?
这说明行业下行只是外部压力,真正决定企业能不能扛住的,还是内部的商业模式和经营能力。
04钢铁贸易,本来就是大流水、小利润、重资金
2025年,五矿发展主营业务里,贸易业务收入占比达到93.45%,但贸易业务毛利率只有2.80%,公司整体主营毛利率也只有3.44%。这种结构意味着,看起来营收很大,但本质上是大流水、小毛利。
只要价格跌一点、销量降一点、费用高一点,利润就会非常难看。换句话说,它不是高毛利制造企业,而是典型的大宗流通型公司,规模很大,但利润垫子很薄。
但低毛利还不是最要命的,最要命的是重资金。五矿发展的业务模式本身就比较吃资金,而且很容易把利润让给金融端。
公司在年报里披露,资源贸易业务大多是先款后货,而钢材销售特别是工程配供则以赊销为主。这个结构很典型,上游要钱快,下游回款慢,中间就会形成应收账款和资金占用。
为什么会这样?因为国企贸易公司在两头在外的贸易业务中,难以获得产品优势、渠道优势、技术优势,所以主要以资金优势介入。
特别是大宗商品贸易,标准化程度高,很难有议价能力;交易量大,也很难有集采规模化的优势。数字化时代,信息越来越透明,贸易商想利用信息不对称挣钱,越来越难。
上下游终端都是需要资源的才能介入,这个资源主要还是个人的利益关系,做为国企,这个肯定解决不了,一般都是民企去解决,国企解决资金,国企和民企合作,共同完成这笔贸易。
所以,国企在两头在外的贸易业务中,一般只能以资金作为入口。而资金作为入口,必然要通过预付账款、存货、应收账款等形态存在。这就是为什么国企贸易公司,存在大量的预付账款、存货、应收账款,是属于正常现象,如果没有,倒不正常了。
问题在于,这种模式下,利润空间本来就很薄,资金占用又很重,一旦市场不好,利润就会被迅速压扁。五矿发展2025年营收528亿,但毛利率只有3.44%,毛利额只有18亿左右。
这18亿毛利,要覆盖所有的费用、税金、财务成本、减值损失,最后能剩下多少?答案是,扣非后还亏了1.46亿。
05真正把利润吃掉的,不只是市场,还有保理和减值
辛辛苦苦做贸易,本来毛利就薄,结果保理成本、融资成本再吃掉一层,价格往下走,存货减值再吃掉一层,最后归母看着还行,扣非一看,主业其实已经很难赚钱。这才是五矿发展最能说明问题的地方。
先看保理成本。为了回笼现金,五矿发展会做无追索权应收账款保理,而这类业务的保理费,直接体现在投资收益里。
2025年投资收益为-2.36亿元,其中以摊余成本计量的金融资产终止确认损失就有-2.03亿元,主要就是无追索权应收账款保理业务产生的保理费。2024年这个损失更高,达到-2.92亿元。
为什么要做保理?因为下游回款慢,资金占用太重,公司需要把应收账款转让给金融机构,提前回笼现金。保理本身不是坏事,它加快了资金周转,避免了更大规模的资金占用。但问题在于,保理费用和节约的资金成本之间,已经形成了一个不太划算的交换。
更关键的是,保理本质上是在用费用置换风险。五矿发展2025年末应收账款76.93亿元,同比下降11.42%,但应收账款占营业收入的比值却在持续上升,从2023年的10.04%升至2025年的14.56%。这说明公司确实面临较大的回款压力。
2025年保理损失2.03亿元,占当年毛利额的11%左右。如果公司将76.93亿元应收账款全部持有到期而不做保理,一旦下游客户出现大规模违约,坏账损失可能远超2.03亿元。在房地产行业持续暴雷的背景下,保理是在用可控的费用,换取不可控的坏账风险。
所以,保理损失不能简单理解成吃亏,而要看成被动的风险应对。如果下游回款能力在改善,保理规模应该下降;如果保理规模持续高位,说明下游回款压力在加大,公司不得不用更高的成本换取流动性和风险隔离。
再看存货减值。大宗商品下行周期里,存货减值对这类公司杀伤很大。2025年,五矿发展资产减值损失约1.51亿元,其中存货跌价和合同履约成本减值约1.15亿元,另外固定资产减值也有约3239万元。2024年更重,资产减值损失约3.86亿元,几乎全部来自存货跌价准备。
对钢铁贸易企业来说,存货减值的根源不是简单的价格下跌,而是敞口管理出了问题。正常的钢铁贸易应该是背靠背业务,采购和销售锁价,价格波动不会直接影响利润。但如果出现未套保的库存敞口,或者已签订采购合同但未签订销售合同的锁价缺口,价格一旦下行,减值就会迅速发生。
五矿发展这么大规模的减值,说明要么是库存周转慢了,要么是敞口控制松了,要么是市场判断出了偏差,提前备了货但下游需求没跟上。这也是为什么大宗供应链企业经常营收很大、利润很薄、年底一减值就很难看。
把这两项加起来看,2025年保理损失2.03亿元,减值损失1.51亿元,合计3.54亿元。而公司当年毛利额只有18亿左右,这两项就吃掉了近20%。再加上其他费用、税金,最后扣非净利润亏损1.46亿元,就不奇怪了。
更值得警惕的是,这两年的归母净利润,其实越来越依赖非经常性项目撑着。2025年归母净利润还是正的,1910.38万元,但扣非归母是-1.46亿元,说明主业本身并没有真正赚到钱。
2025年的非经常性损益里,政府补助约1.38亿元,单独减值测试应收款项减值准备转回约5902万元,资产处置收益约2359万元。2024年政府补助更高,达到约2.84亿元。
也就是说,账面利润不是完全靠主业挣出来的,而是靠补助、减值转回、处置等项目托了一把。看归母利润容易觉得还没亏,但看扣非利润就知道底层经营还是偏弱。
06监管趋严,原有增长逻辑正在失效
监管这几年确实越来越严,而且严的就是五矿发展这种央企两头在外贸易业务。国资委已经明确规范对象就是中央企业两头在外的贸易业务,监管要求企业说明虚假贸易排查整改情况、融资性贸易风险敞口处置情况。
中国五矿自己的报告里也已经写得很直白,贸易业务要严禁融资性贸易、空转、走单等虚假贸易业务,落实专项审计整改。连五矿发展的审计程序里,也专门把识别是否存在融资性贸易和虚假贸易列为检查内容,这说明这件事已经从业务问题,变成了监管红线和审计重点。
为了应对监管压力,五矿发展在2025年11月上线了虚假贸易智能监控预警模型,能够在全级次企业自动识别异常业务和虚假贸易。这套系统从集团层面部署,反映了集团对贸易业务合规性的高度关注。
但从另一个角度看,这种严格的管控实际上也限制了五矿发展的经营灵活性。当地方国企可以相对灵活地开展贸易业务时,央企的五矿发展必须在集团设定的严格框架内运作。这种管控差异,导致五矿发展在贸易业务中可操作的空间更小,能够腾挪的余地也更小。当行业下行时,这种差异就成了生死线。
但监管收紧对五矿发展收入下滑的影响,可能没有行业需求萎缩来得直接。从时间线看,五矿发展2022年营收786.45亿元,2023年789.96亿元基本持平,2024年降到672.36亿元,2025年进一步降到528.23亿元。
下滑明显加速是在2024年之后,而这一年行业需求大幅萎缩,2024年折合粗钢表观消费量同比下降7.1%。行业需求收缩的时间线与五矿发展收入加速下滑的时间线高度吻合。
监管收紧带来的影响是全行业性的。过去一些贸易公司依靠垫资、通道等方式做大规模,这类业务往往不是赚真实贸易的价差,而是赚信用、通道、账期和资金期限的钱。
监管趋严后,这类业务空间被大幅压缩,整个行业的营收规模都受到影响。从国企贸易公司的角度看,监管变严往往会带来两个结果,一是收入规模收缩,二是业务筛选更严、周转更慢。
为什么其他类似的国企并没有下滑的那么厉害?主要是其他类似国企都是地方国企,而不是央企。从贸易监管角度,央企比地方国企要严格很多,特别是国资委的贸易十不准,直接就是针对央企的。
07集团的战略定位与支持力度影响了发展
五矿发展十年来营收被同行甩开、利润持续下滑,除了行业下行、商业模式、保理减值、监管收紧这些业务层面的原因,还有一个不可忽视的维度,就是集团的战略定位和支持力度问题。
中国五矿对五矿发展的支持不是没有,但存在明显的错位和迟到。
第一,战略定位错配。
中国五矿的定位是矿业报国、矿业强国,贸易业务只是服务矿业主业的辅助环节,而不是集团优先发展的核心业务。五矿发展在集团内部的地位,不是增长引擎,而是配套服务商。
对比建发、象屿、物产中大这些地方国企,贸易就是它们的核心主业,集团会把最好的资源、最大的授信、最灵活的经营机制全部倾斜给贸易板块。而五矿发展在中国五矿的版图中,只是一个环节,不是主角。
第二,资产注入承诺迟到四年。
2008年,中国五矿承诺以五矿发展为核心的黑色金属业务的整合。2014年,这个承诺被规范为在2022年6月30日前完成。然而这个期限一延再延,直到2025年12月才正式披露重组方案,比原定2022年的完成时限晚了将近四年。
这四年,正是五矿发展从786亿营收、3.40亿利润,一路跌到528亿营收、扣非亏损1.46亿的四年。集团内部并非没有优质资产,五矿矿业资产总额195亿元,资源控制总量超过40亿吨,铁矿石年生产能力1600万吨。鲁中矿业是山东省内最大的钢铁原料生产基地之一。这些资产长期留在集团体系内,迟迟没有注入五矿发展。
第三,融资支持有限。
中国五矿通过五矿财务公司为五矿发展提供融资综合授信,2025年度担保额度不超过15亿元。但这个额度,对于一家营收超过500亿、应收账款超过76亿的贸易公司来说,规模是否足够?更重要的是,集团对五矿发展的支持主要集中在融资配套层面,而不是战略赋能层面。
集团没有帮助五矿发展解决贸易业务的根本问题,低毛利、高资金占用、强周期性。保理损失仍然在吃利润,存货减值仍然在侵蚀收益,这些问题的根源是贸易模式本身,不是缺钱就能解决的。
把五矿发展和同行对比,建发、象屿、物产中大的集团层面把贸易当作核心增长引擎,倾注了最多的资源、最灵活的经营机制和最充分的授权。而五矿发展在中国五矿的版图中,贸易只是配套环节,矿业才是核心。
集团的战略重心不在贸易上,五矿发展自然得不到足够的支持和资源。如果矿业资产在五矿发展营收和利润还在高位时注入,公司或许不需要等到2026年才彻底告别贸易。
08五矿发展自己也在告别旧逻辑
2026年1月,五矿发展披露重大资产重组预案,拟置出原有贸易相关资产,置入五矿矿业、鲁中矿业股权。若重组完成,这家2024年营收672亿元的上市公司将不再从事资源贸易、金属贸易等业务。
这不是简单的业务调整,而是战略性的转向。五矿发展要把贸易从上市公司剥离,转向矿业。为什么?因为贸易和矿业,在资本市场的估值逻辑完全不同。
贸易的估值逻辑是,流水虽大但利润微薄,资本回报率低于资金成本,收益风险极度不对称,平时微利、出事大亏。
对投资者来说,大宗贸易公司的最大问题是透明度低,不像矿业公司可以穿透到产量、售价、成本的清晰链条,贸易业务的现金流取决于无数个交易对手、货权转移、账期差、价格波动,任何一个环节出问题,都可能导致巨额损失。
而且贸易业务无稀缺性、无护城河,可替代性强,市场上任何有资金的公司都能做贸易,凭什么给你高估值?结果是,贸易对集团有协同价值,现金流周转、客户关系、产业链组织,但对资本市场却是估值折价项,贸易占比越高,上市公司整体估值越低。
矿业的估值逻辑完全不同。矿权具有稀缺性,上游资源方议价能力强,现金流和利润相对稳定,资本市场愿意给更高估值。一次置换,同时解决估值、合规、战略三重问题。
五矿发展的转型,本质上是在告别旧贸易逻辑。这个旧逻辑是什么?就是靠规模、靠通道、靠资金周转赚钱,但利润薄、风险重、估值低。新逻辑是什么?就是聚焦资源端,靠稀缺性、靠上游议价能力赚钱,利润厚、风险可控、估值高。
09中信金属给出了另一种答案
如果把五矿发展和中信金属放在一起看,就会发现,同样是央企背景、同样做金属相关业务,两家公司走出了完全不同的路径。五矿发展暴露的是单纯依靠贸易做规模的压力,而中信金属提供的,则是贸易加锚、双轮驱动的另一种参照。
先看数据。2025年,中信金属实现营收1418.19亿元,同比增长9.57%;归母净利润26.89亿元,同比增长20.16%;扣非净利润25.67亿元,同比大增41.00%。营收规模是五矿发展的2.7倍,归母净利润却是140倍。在同样的行业下行周期中,一个扣非转负,一个扣非大增41%——差距不是运气,是商业模式。
中信金属做对了什么?答案是贸易+资源投资双轮驱动。2025年,中信金属对联营企业的投资收益21.28亿元,同比大增74.35%,占归母净利润26.89亿的79%。
换句话说,中信金属的利润,八成来自资源投资,而非贸易本身。公司参股的拉斯邦巴斯铜矿2025年产铜41.08万吨,同比增长27%,跃升全球前十;通过持股21.2%的艾芬豪矿业,获得KK铜矿的权益与分销权。参股不控股、包销权锁定的模式,让贸易与投资形成闭环。
这套模式意味着什么?第一,贸易不再是孤立的盈利中心,上游资源投资托底,贸易波动被投资收益熨平。第二,资金占用不再是死穴,通过上游资源投资掌握部分定价权和分销权,贸易业务结构更优、话语权更强。
第三,估值逻辑完全不同,中信金属的PE约22倍、PB约2.44倍(截至2026年3月),而五矿发展的估值水平则低得多,这正是贸易+锚与只做贸易在资本市场上的估值鸿沟。
中信金属的模式可复制吗?答案是不容易。中信金属的铌业务在国内市场份额稳定在80%以上,这是三十余年深耕建立的壁垒;艾芬豪矿业的投资始于2018年,至今已近八年。
这种长周期的资源布局能力,不是普通国企贸易公司短期能复制的。但可复制性低,不代表不可借鉴。中信金属告诉所有国企贸易公司一个道理:贸易本身不创造超额价值,贸易背后的资源、技术、渠道、品牌才是真正的护城河。
当然,需要承认的是,中信金属的利润核心是有色金属(铜、铌),而五矿发展主营黑色金属(钢材、铁矿石)。黑色金属更分散、利润率更低、周期性更强,有色金属资源集中度高、矿权壁垒更强。
中信金属的模式在黑色金属行业未必能完全复制,但思路可以借鉴,关键不在于照搬具体的资源锚,而在于理解贸易加锚的底层逻辑。
10国企贸易公司,不能再按旧逻辑做贸易
营收可以做得很大,但净利率普遍在1%以下,扣非净利润经常为负。一笔坏账就能吞掉多年利润,一次减值就能让账面利润大幅下滑。资本市场对这类公司的估值普遍很低,PE倍数通常在个位数,甚至低于5倍。这是很多国企贸易公司都在面对的共同困境。
为什么会这样?因为大宗贸易这门生意,在今天的市场环境下,已经越来越难做了。信息越来越透明,价差越来越薄,竞争越来越激烈,监管越来越严。过去能靠信息不对称赚钱,现在信息透明了;过去能靠通道赚钱,现在监管不让做了;过去能靠规模赚钱,现在规模越大风险越大。
更深层的问题在于,国企贸易公司在两头在外的贸易业务中,天然就处于弱势地位。没有产品优势,因为产品是标准化的;没有渠道优势,因为上下游都不是自己的;
没有技术优势,因为贸易本身没有技术壁垒。唯一能拿出来的,就是资金优势。但资金优势不是护城河,任何有钱的公司都能做,而且资金优势本身就意味着重资金、高占用、低回报,而且风险大。
这个困境的本质,不是某个公司经营不善,而是旧贸易逻辑在今天的市场环境下,已经越来越难以为继。什么是旧逻辑?就是靠规模、靠通道、靠资金周转赚钱,追求营收增长,忽视利润质量,最后陷入规模大、利润薄、风险重的困境。
五矿发展的选择,不是说国企就不要做贸易了,而是不要再按旧逻辑做贸易。新逻辑是什么?就是贸易必须服务于更高价值的锚。这个锚可以是资源端控制力,像中信金属那样,通过投资矿山股权,让贸易成为资源变现的延伸;
也可以是平台能力,像济宁能源那样,通过港航物贸一体化,让贸易成为港口组织货源的工具;还可以是技术壁垒、专利工艺、供应链管理能力、数字化系统。
关键在于,贸易不能是独立的盈利中心,而必须是服务于更高价值业务的配置工具。如果贸易就是贸易本身,没有更高价值的业务锚定,那就会陷入五矿发展的困境,做得越大,拖累越重。
对国企供应链公司来说,真正需要回答的问题只有三个。第一,你靠什么不可替代?如果只是靠资金,那就没有护城河。
第二,贸易在帮你还是在拖你?如果贸易只是做大营收,但利润质量很差,那就是在拖你。第三,贸易业务管得住吗?如果管不住货权、管不住风险、管不住合规,那就不要做。
五矿发展的困境,给所有国企贸易公司上了一课。这一课的核心不是不要做贸易,而是不要再按旧逻辑做贸易。贸易本身不创造价值,贸易加锚才创造价值。无锚别做贸易,有锚要做协同,做协同先改机制。
声明:文中观点,是个人依据公开信息得出的个人判断,不代表五矿发展的实际经营状况,最终以五矿发展实际经营和公告为准。
