据央视新闻,北京时间2024年10月22日8时10分,我国在太原卫星发射中心使用长征六号运载火箭,成功将天平三号卫星发射升空,卫星顺利进入预定轨道,发射任务获得圆满成功。该卫星主要用于地面雷达设备标校和RCS测量,为地面光学设备成像试验和低轨空间环境探测监视试验提供支持,为大气空间环境测量和轨道预报模型修正提供服务。
此次任务是长征系列运载火箭的第541次飞行。

据央视新闻,10月22日,外交部发言人林剑主持例行记者会。有记者就中印边境提问。
对此,林剑表示,近段时间以来,中印双方通过外交和军事渠道,就中印边境的有关问题保持密切沟通,目前双方已就有关问题达成解决方案,中方对此予以积极评价。下一步中方将与印方落实好上述解决方案。
据21财经,近日,网上流传“某互联网金融平台挪用用户额度”,称平台会替用户多贷款。据金融业内人士表示,实际上,该言论是错将征信报告中的“余额”理解为“剩余额度”。征信报告里面的“余额”是客户借款的剩余本金,也就是说指没还钱的金额。
据IT之家,知名打假人王海今日在微博发文称,董宇辉高价卖“假有机”土豆,称其为“假助农真圈钱”。
王海指出,董宇辉在木兰围场带货的一款土豆,误导消费者是有机土豆,售价高达 4.58 元 / 斤,是普通超市价格的十倍,王海称其为“土豆刺客”。王海进一步说明,与董宇辉合作的供应商鑫达商贸公司确实拥有部分土豆的有机认证,但其认证的有机土豆产量只有 32.38 吨。而在董宇辉的直播中,这款产品的销量却超过了 6.6 万单,折算下来总量远超 165 吨。
王海称,某关姓种植户的土豆通过上述供应商卖给了“与辉同行”,收购价大概是 0.42 元,这家种植户的土豆只是有机转换,并不是真正的有机土豆,“经过董宇辉这么一包装,0.42 元的土豆价格直接暴涨 10 倍,卖到了 4.58 元。所谓的助农带货,实际上农民并没有得到多大好处。通过虚假宣传,商家却赚得盆满钵满。”王海还指出,董宇辉在口播时不说“有机”,而让引导消费者去看供应商的链接,以此来规避可能的虚假宣传的责任,堪称“鸡贼”。
对于已购得此款“假有机”土豆的消费者,王海建议可向厂商提出退货及赔偿要求,最低起赔标准为 500 元。截至IT之家发稿,董宇辉及与辉同行并未对此作出回应。

据大河报,10月20日,2024年国考报名已突破百万大关,还未进行报名的考生请注意,国考报名需要预留充分的审核及修改时间。截至10月21日17时,全国已报1575488人,审核通过1213043人;河南已报81527人,审核通过56945人。
目前,国考河南地区无人报考岗还有12个,共计招录12人。用人单位分别为:郑州黄河河务局巩义黄河河务局、河南省信阳市平桥区气象局、国家金融监督管理总局新安监管支局、国家金融监督管理总局浚县监管支局、国家金融监督管理总局长葛监管支局、国家金融监督管理总局临颍监管支局、国家金融监督管理总局舞阳监管支局、国家金融监督管理总局卢氏监管支局、濮阳黄河河务局第一黄河河务局、濮阳黄河河务局渠村分洪闸管理处、焦作黄河河务局孟州黄河河务局、新乡黄河河务局长垣黄河河务局。

据界面新闻,富达国际10月22日在一份声明中表示,经慎重考虑,公司决定优化部分现由大连中心管理和支持的职能,这与公司上下提升效率的战略焦点一致,“与此同时,我们在大连还会增设一些新职能,由此继续扩大业务规模,力争用好当地人才优势”。此前有市场消息称,富达国际将在大连的技术和运营支持中心削减近500个岗位,并增加少量新岗位。富达国际表示,尽管大连员工总数将会减少,但大连仍是一个很重要的卓越中心,“我们仍致力于在中国持续开展包括养老和资管在内的公募基金业务,不负助力中国投资者实现长期财务目标的使命”。
据羊城晚报,10月21日,湖南株洲一家长反映光明学校自带饭的学生只能蹲在教室外吃饭。22日学校后勤负责人刘先生称,此前让自带饭的学生在教室外面吃饭是怕交叉感染。目前天气转冷,经和家长协商已安排学生进教室吃饭。

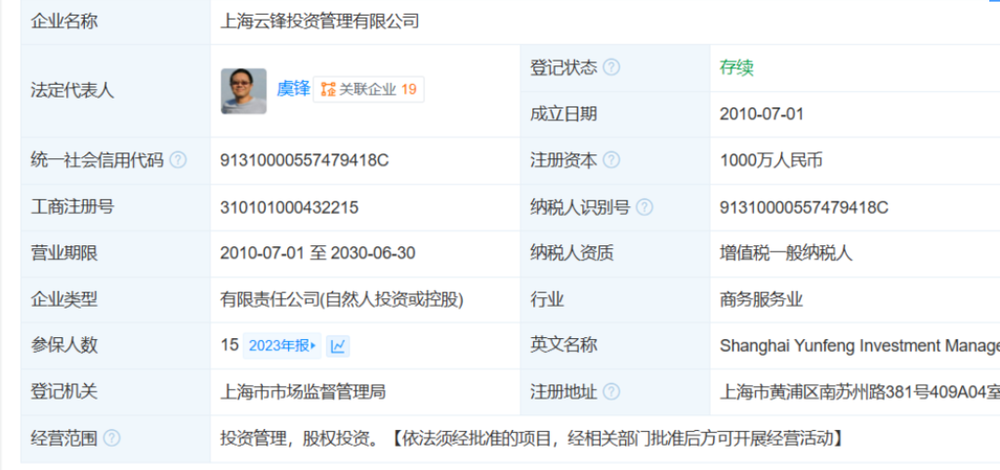
据证券时报,上海云锋投资近期注册资金发声变更:“由2.9亿元人民币减至1000万元人民币。”此次减资后,马云出资400万元,黄鑫出资600万元。据了解,成立于2010年的上海云锋投资,为知名私募股权投资机构云锋基金的人民币第一期基金执行主体,其初始注册资本即为1000万人民币。2013年12月9日,该人民币一期基金完成募集并进入投资阶段后,上海云锋投资注册资本增资到了此次减资前的2.9亿元。云锋基金向证券时报回应,此次减资调整,意味着存续超过14年的云锋人民币一期基金已进入清算退出的最后阶段,即将完成其所有项目的投后服务与退出,圆满收官。目前,云锋基金已累计设立五期人民币投资基金和四期美元投资基金。“对早期基金的结算,也预示着公司正进一步优化其策略和组合,加强后续基金的投资布局。”云锋基金表示。

据环球时报援引多家美国媒体报道,美国前总统特朗普于当地时间10月20日出现在宾夕法尼亚州的一家麦当劳餐厅短暂“打工”,停留20多分钟,为即将到来的美国总统选举进行了一场竞选活动。
活动引起了美国媒体的广泛报道。随后,美国麦当劳公司就此事给美国媒体发了一份声明。
这份声明由美国麦当劳的高级领导层签发,主要包括两部分内容。首先,美国麦当劳强调了公司的“核心价值观之一”——“向所有人敞开大门”,并表示公司不在美国大选中站队,“我们既不是蓝色也不是红色,而是金色”。
根据美国有线电视新闻网(CNN)的介绍,由于美国的麦当劳餐厅是连锁制,这也就意味着各家餐厅是独立运营的。其次,美国麦当劳公司在声明表示,虽然公司并不想被卷入选举之中,但两名候选人都在竞选中提到麦当劳,公司对此感到“骄傲”。

据财联社,英特尔某位高层近日向三星释出提议,想让两家公司高层,即英特尔CEO Pat Gelsinger,与三星会长李在镕会晤,讨论双方在晶圆代工领域的全面合作方案。
据经济参考报,外媒报道,美国波音公司已与美国机械工人和航天工人国际联合会(IAM)就劳资协议达成初步协议,波音公司将向工人提供新合同,包括四年内工资上涨35%,以期结束长达一个多月的罢工行动。
根据美联社和德新社等媒体报道,波音将在四年内将工资提高35%,高于其上个月提出的增长30%的方案。同时,保留此前计划取消的员工年度绩效奖金,使这部分收入占工资的4%。此外,波音将一次性奖金提高至每人7000美元,高于此前的6000美元,并同意改善退休和病假福利。
这份最新的初步协议于10月19日达成。IAM表示,就职于波音的33000名IAM工会成员将在10月23日对协议进行投票。
据第一财经,当地时间周一,马斯克在旗下社交媒体X上发帖称,他旗下的人工智能初创公司xAI首款API现已上线。xAI的API支持函数调用,可将旗舰生成式AI模型Grok连接到数据库和搜索引擎等外部工具,有网友称“旨在彻底改变X上的AI交互”。目前API中只有一个模型可用,未来可能会有分析文本和图像的视觉模型。
xAI API的定价是每百万输入令牌(token,约等于75万个单词)为5美元,每百万输出令牌为15美元。被有的网友评价为“颇为大胆的定价模式”。
据界面新闻,在中国市场面临激烈竞争的大众汽车,一位核心高管出现变故。
据媒体报道,大众汽车集团(中国)首席营销官森皮尔(Jochen Sengpiehl)因在泰国度假期间使用大麻而在返回北京后被拘留,并最终被驱逐出中国。报道称,森皮尔本月早些时候从泰国苏梅岛返回北京,随后在一项常规的毒品检测中被发现体内有大麻成分。
在大众公司期间,他创造了“Volkswagen. Das Auto”这一耳熟能详的响亮口号。
截止发稿,大众汽车中国官方还未对此事发表公开回应。
据环球网援引塔斯社等媒体21日报道,德国梅赛德斯-奔驰集团股份公司首席执行官(CEO)康林松在接受德国《图片报》采访时,敦促欧盟推迟对原产于中国的电动汽车加征关税。
塔斯社报道称,康林松在采访中说,“我们必须具有国际竞争力。这样一来,转型可能会成功,经济会长期增长。新的关税对我们不会有帮助”。
“我们需要更多的自由贸易,而不是新的贸易壁垒。” 康林松说,“因此,找到一个对欧盟和中国来说都公平的解决方案很重要。关于这一问题的谈判需要时间,为防止谈判被破坏,欧盟应该推迟实施关税计划。”

据财联社,记者获悉,中金公司于2024年10月22日在“证券、基金、保险公司互换便利”项下首次买入股票。下一步中金公司将继续使用互换便利业务获得的资金进一步增持股票,坚决落实党中央决策部署,助力资本市场健康稳定发展。中金公司已于21日达成了“证券、基金、保险公司互换便利”下的首笔质押式回购交易,质押券为2024年第一期互换便利央行票据。
据证券时报e公司,10月22日,杭州出让1宗宅地,该地块地处江湾新城核心板块,吸引绿城、滨江、华润等国央企及本土实力民企激烈争夺,历经77轮角逐,最终被绿城斩获,揽金34.2亿元,溢价率28.5%,成交楼面价50717元/平方米。中指研究院华东大区常务副总高院生表示,“政策、地段双保障,地块竞拍高热,杭州新地王诞生。”该地块位于江湾新城核心板块,发展潜力十足,且板块内库存基本见底,客户厚度有保障。地块新房限价67500元/平方米,房地价差空间压缩至16783元/平方米。
据界面新闻,10月21日消息,据知情人士透露,沃尔玛旗下山姆会员商店的一位高管将离开公司,原因是一项政策要求数千名公司员工搬迁到阿肯色州的总部。知情人士说,由于个人原因,山姆会员商店首席技术官Cheryl Ainoa拒绝搬到阿肯色州。
据新浪财经,周一表示,将于2026年初宣布现任首席执行官Bob Iger的继任者。这是该公司首次正式宣布接班时间表。投资者表示,这一消息标志着迪士尼在寻找Bob Iger接班人方面取得了进展。
与此同时,迪士尼表示,前摩根士丹利首席执行官James Gorman将于明年1月2日出任公司董事会主席,接替Mark Parker。James Gorman将于今年年底辞去摩根士丹利执行主席一职,他曾担任摩根士丹利首席执行官长达14年,并因其财富管理业务的增长而受到赞誉。
James Gorman还因成功监督了摩根士丹利权力的有序交接而受到赞誉。在该计划中,Ted Pick从三位候选人中脱颖而出,成为摩根士丹利首席执行官,而另外两位候选人Andy Saperstein和Dan Simkowitz仍留在了摩根士丹利,这在华尔街很少见。一位曾与James Gorman共事过的财务高管表示,迪士尼选择了一位“坚持严格和透明”的人来选择Bob Iger的继任者。
值得一提的是,迪士尼的接班过程并不太顺利。该公司董事会于2022年11月解雇了Bob Iger亲自挑选的接班人Bob Chapek,后者的任期还不到三年。此后,Bob Iger重新担任首席执行官,其退休日期已经延长了五次。现在,迪士尼的股东们都希望公司能找个靠谱的接班人。
James Gorman在一份声明中表示:“摆在我们面前的一个关键优先事项是任命一位新的首席执行官,我们现在计划将在2026年初宣布。”他补充称,这将在Bob Iger的合同于2026年结束之前为成功过渡留出充足的时间。
据央视新闻综合法新社、韩联社消息,当地时间21日,朝鲜常驻联合国代表团一名负责人在纽约出席第79届联大第一委员会会议时,就韩国政府近日发布朝方派兵援俄消息反驳称,这是毫无根据的谣言。
当地时间10月18日晚,韩国情报机构国情院消息称朝鲜已决定向俄罗斯派出4个旅团规模的特战部队士兵参战,规模为12000人。韩国国情院表示,已获知相关情况,确认本月8日至13日已有部分朝鲜士兵通过俄罗斯海军舰艇抵达俄罗斯境内。据国情院消息,首批1500名已抵达俄罗斯的朝鲜士兵从朝鲜北部清津、咸兴、舞水端等地搭乘俄罗斯海军太平洋舰队所属舰艇抵达俄罗斯符拉迪沃斯托克,预计在展开适应性训练后投入俄乌作战前线。
据财联社,全球首富、特斯拉CEO埃隆·马斯克最近深度涉足美国政治,正令其陷入险境之中。马斯克日前表示,在一家左翼德国杂志将他称为人民公敌之后,他计划升级安保措施。
上周日,马斯克在宾夕法尼亚州匹兹堡出席活动,为美国前总统、共和党总统候选人唐纳德·特朗普助选。在与人群交谈时,马斯克评价了随着美国大选临近而日益紧张的政治氛围。
他指出,他最近登上了德国《明镜周刊》的封面,该杂志将他称为“二号公敌”,而“头号公敌”是特朗普。
“我肯定会升级我的安保系统。我想我最好取消敞篷车游行,”马斯克表示。这句话似乎意指1963年肯尼迪总统遇刺事件。
马斯克还表示,他对“左翼尖刻的仇恨程度”感到“有点震惊”。

据中国新闻网,白宫发言人当地时间21日表示,美国总统拜登对“绝密情报泄露”事件“深表关切”,这些文件涉及以色列准备对伊朗进行报复性打击的情况。
据美联社报道,美国白宫国家安全委员会战略沟通协调员柯比称,五角大楼正在就此事件展开调查。“我们和总统都对任何机密信息泄露到公共领域的行为深表关切。这是不应该发生的,是不可接受的。”
柯比表示,拜登政府还不确定这些机密信息是否被黑客入侵。他还表示,目前,官员们还没有发现任何迹象表明“类似的其他文件进入了公共领域”。
当地时间20日,美国众议院议长约翰逊表示,美国正在调查两份高度机密情报文件的泄露事件,这些文件描述了以色列准备对伊朗进行报复性打击的情况。

虎嗅报童
获取最新行业资讯,十五分钟尽知天下事。本栏目由虎嗅内容运营团队出品。
好内容,更需要鼓励