19
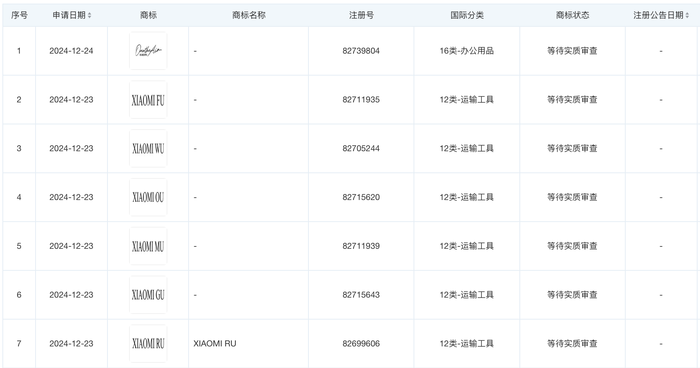
小米申请注册FU、WU等多枚商标,或为未来新车命名。
据界面新闻,在小米SU7和小米YU7两款车型之后,小米申请了多枚“U”字辈商标,或为未来新车做准备。
天眼查知识产权信息显示,近日,小米科技有限责任公司申请注册“XIAOMI FU”“XIAOMI WU”“XIAOMI OU”“XIAOMI MU”“XIAOMI GU”“XIAOMI RU”商标,国际分类为运输工具,当前商标状态均为等待实质审查。
2025-1-9
32
小米申请注册FU、WU等多枚商标,或为未来新车命名。
据界面新闻,在小米SU7和小米YU7两款车型之后,小米申请了多枚“U”字辈商标,或为未来新车做准备。
天眼查知识产权信息显示,近日,小米科技有限责任公司申请注册“XIAOMI FU”“XIAOMI WU”“XIAOMI OU”“XIAOMI MU”“XIAOMI GU”“XIAOMI RU”商标,国际分类为运输工具,当前商标状态均为等待实质审查。