214

学小米?苹果中国申请注册“苹果智家”等多个商标。

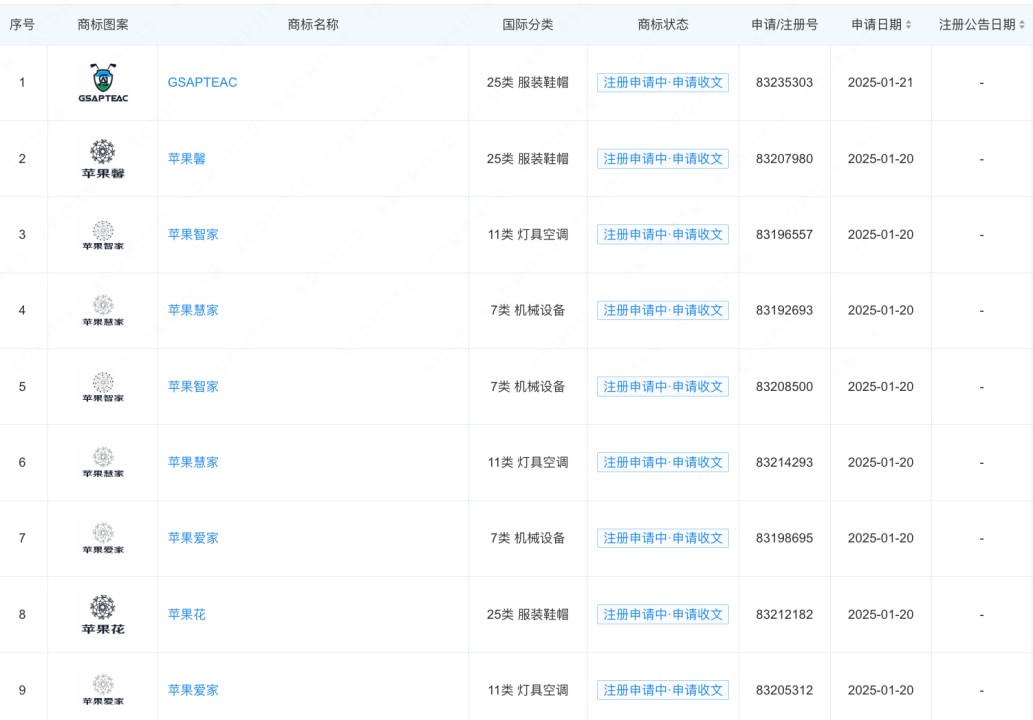
2月14日,《证券日报》记者从第三方平台了解到,苹果(中国)有限公司(以下简称“苹果中国”)日前申请注册包含苹果智家、苹果慧家、苹果爱家、苹果花在内的多个商标,国际分类涉及服装鞋帽、灯具空调、机械设备等,当前商标状态为注册申请中。资料显示,苹果(中国)有限公司由美国苹果集团(以下简称“苹果公司”)全资持股。

据业内人士推测,从商标名称来看,“苹果智家”“苹果慧家”和“苹果爱家”等名称都带有浓厚的家居生活气息,这可能与苹果公司在智能家居领域的布局有关。近年来,随着智能家居市场的快速发展,越来越多的科技公司开始涉足这一领域,苹果公司也不例外。通过申请这些商标,苹果公司可能旨在为其未来的智能家居产品提供品牌保障。同时,这些商标的国际分类也值得关注。服装鞋帽、灯具空调、机械设备等领域的广泛覆盖,表明苹果公司可能不仅仅局限于电子产品领域,而是有意向更多元化的市场进行拓展。

在工信部信息通信经济专家委员会委员盘和林看来,苹果中国可能有两方面考虑。一方面是对“苹果”商标的保护性注册,苹果公司想要通过商标矩阵来保护“苹果”商标,也代表着其想要深耕中国市场。另一方面,苹果公司中国注册多种商标的确有完善供应链,扩容产业链的想法。

【原文】
2025-2-14
32