224

华为第六界“塔界”要来了?最新回应。

据证券时报,市场猜测,“塔界”或是华为智能汽车生态品牌鸿蒙智行旗下“下一界”或“第六界”,将由华为与长安汽车旗下联营企业阿维塔科技共同打造。

具体而言,日前,有消息称,华为已派了一支近300人的团队入驻阿维塔科技位于重庆的总部,双方正在就第二代产品的产品定义、用户洞察、营销策略等开启联合共创。

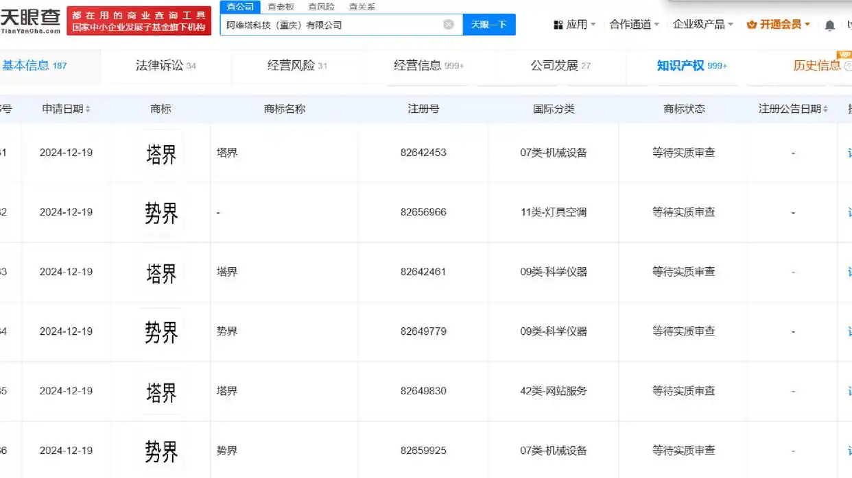
此前,今年年初,阿维塔科技申请注册了多枚“塔界”“势界”商标,国际分类涉及机械设备、网站服务、科学仪器等。

由于此前上汽集团也曾注册“尚界”,之后近日,华为与上汽集团的合作尘埃落定,因此,市场猜测,“塔界”或是华为鸿蒙智行旗下的“下一界”。

对此,2月24日,阿维塔科技相关负责人对媒体表示:“目前确实有近300人的(华为)团队在跟我们联合共创,其他进一步的信息,目前暂无办法告知。”

值得一提的是,华为此前对外公开的智能汽车业务情况为,华为与车企的合作模式主要有三种:一是售卖标准化的汽车零部件产品;二是提供全栈智能汽车解决方案的 Huawei Inside 模式(以下简称HI模式);三是深度参与产品、整车设计,以及提供销售网络渠道的智选车模式,即鸿蒙智行。阿维塔科技与华为的合作模式属于HI模式,而涉及“问界”等各类“界字辈”的合作,均属于华为鸿蒙智行合作模式,即此前称呼的智选车模式。

如今“塔界”浮出水面,市场便开始猜测,华为与阿维塔科技的合作将由HI模式升级为鸿蒙智行模式?

对此,阿维塔科技方面已正面否认。“阿维塔科技与华为的HI模式不变。”阿维塔科技相关负责人向媒体表示。

与此同时,记者也已向华为方面进行求证,据内部知情人士称:所谓阿维塔注册“塔界”,与鸿蒙智行无关。

【原文】
2025-2-24
32