113
马应龙申请马小护、马小康、楚来康等商标,涉及分类包括灯具空调、方便食品等。
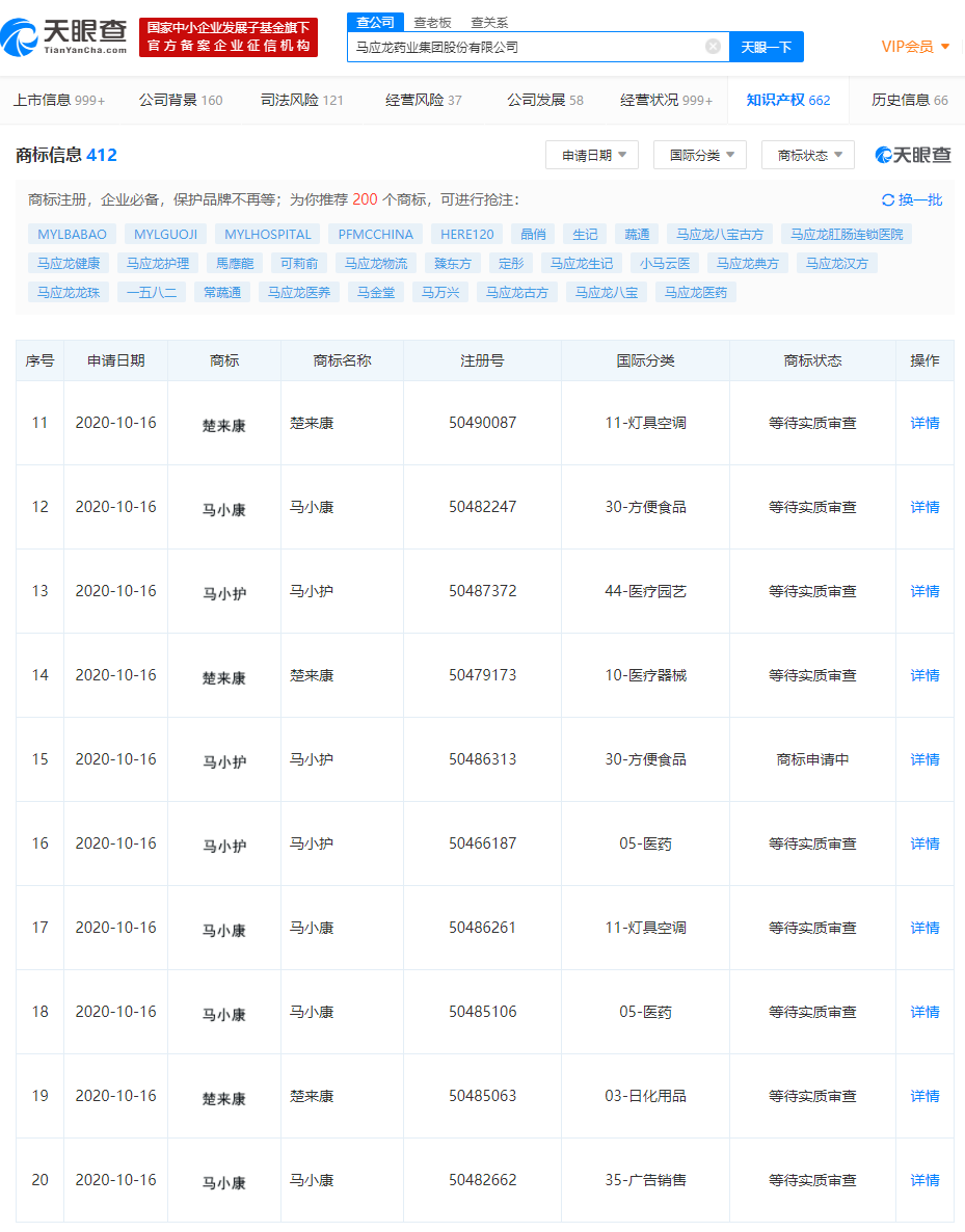
天眼查App显示,近日,马应龙药业集团股份有限公司新增多条商标信息,商标名称为“马小康”、“马小护”、“楚来康”等,国际分类涉及:方便食品、灯具空调、医疗园艺、日化用品、医药等,商标状态为等待实质审查或商标申请中。
马应龙药业集团股份有限公司成立于1994年5月,据官网介绍,马应龙以肛肠及下消化道领域为核心定位,集药品经营、诊疗技术、医疗服务于一体,为肛肠病患者提供整合解决方案。
2020-11-3
105
马应龙申请马小护、马小康、楚来康等商标,涉及分类包括灯具空调、方便食品等。
天眼查App显示,近日,马应龙药业集团股份有限公司新增多条商标信息,商标名称为“马小康”、“马小护”、“楚来康”等,国际分类涉及:方便食品、灯具空调、医疗园艺、日化用品、医药等,商标状态为等待实质审查或商标申请中。
马应龙药业集团股份有限公司成立于1994年5月,据官网介绍,马应龙以肛肠及下消化道领域为核心定位,集药品经营、诊疗技术、医疗服务于一体,为肛肠病患者提供整合解决方案。