本文来自微信公众号: 凤凰网财经 ,作者:公司研究院,原文标题:《曾经卖爆的抗衰神器,如今卡在 “无证” 生死线》
爱美之心,人皆有之。
随着家用美容仪器走进寻常百姓家,射频美容仪凭借“居家轻医美”的便捷性,一度成为美妆护肤赛道的热门单品,被无数消费者奉为抗衰利器。
但喧嚣之下,产品安全与行业规范的隐忧始终存在,一场关乎行业生死的合规大考已然临近。
2026年4月1日,国家药监局相关新规将正式落地,明确射频美容仪作为Ⅲ类医疗器械,未依法取得医疗器械注册证的,不得生产、进口和销售。
这意味着,这款曾经可随意入市的“个人护理用品”,如今必须经过严苛的临床验证和注册审批才能合法流通。
门槛的陡升既是对消费者安全的守护,也成为检验企业实力的试金石。
这场合规淘汰赛中,曾经的高端标杆品牌Tripollar初普,却意外陷入了“无证”的尴尬。
01
距离新规落地不到一个月,还没有拿到“证”
“院线护理,就选射频”“家用护理,就选射频”“海外地区连续7年销量Top1”,这些极具诱惑力的宣传语出现在初普一款射频美容仪的介绍中。

这款售价2750元的初普美容仪宣称,搭载品牌自研的HIRF点状穿刺射频技术,能将能量精准送达真皮深层,激活胶原蛋白再生,使用一次即可呈现V脸效果。
靠着直击痛点的功效宣传、海外市场的亮眼背书,初普迅速收割了大批消费者,成为很多人居家抗衰的首选。
但光环之下,监管的收紧正在给行业戴上紧箍咒。
家用射频美容仪的合规之路,早已不是“营销说得通”就行,而是“政策通得过”才算数。
早在2022年,国家药监局就明确将射频美容仪纳入Ⅲ类医疗器械管理。
这一归类背后,是对产品风险的回应。
上海申宜禾律师事务所律师李海权向凤凰网财经《公司研究院》表示,射频美容仪通过热能作用于皮肤深层,存在烫伤、漏电、接触不良、重金属超标等安全隐患,且直接影响人体组织生理状态,属于高风险产品。
“我国将其纳入第三类医疗器械管理,是为了从源头管控风险,防止不合格产品给消费者造成人身损害,避免美容变毁容。”李海权补充道,同时,全球主流监管机构均将射频美容仪列为医疗器械管理,美国将其归为FDA二类医疗器械,欧盟则归为IIa类,此次立法也是我国与国际标准接轨的重要举措。
考虑到行业转型需要,2024年7月,国家药监局发布公告,将最终合规截止日期放宽至2026年4月1日,给全行业留出了缓冲期。可这份缓冲,对企业而言不是喘息,而是一场与时间的赛跑。
而在新规落地后,未取得医疗器械注册证的产品将不得生产、进口和销售。
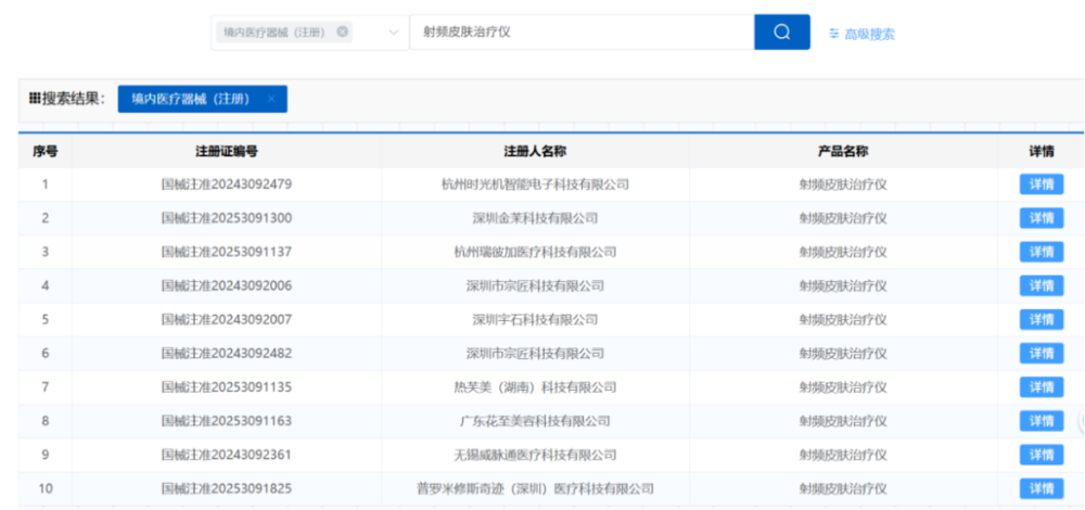
凤凰网财经《公司研究院》查阅国家药品监督管理局官网发现,截至发稿,目前有金茉、热芙美、花至等品牌完成了射频皮肤治疗仪的注册。

而初普的名字,却没有出现在持证名单中,但目前在其抖音官方旗舰店依然有多款射频美容仪产品在售。
了解行业的人都知道,Ⅲ类医疗器械的注册流程极为严苛,周期长达14—18个月,若产品需要补充开展临床试验,周期更是会延长至24—36个月,这对企业的研发实力、检测能力和资金投入,都提出了极高的要求。
有意思的是,2024年2月,初普曾因天猫官方旗舰店关店、官方微信公众号更名而陷入“跑路”传闻。
彼时其发布的澄清公告中曾明确表示:公司关于第三类医疗器械注册的相关工作正在稳步推进中。
凤凰网财经《公司研究院》以消费者身份咨询初普官方旗舰店客服,询问是否已申请Ⅲ类医疗器械认证时,对方回应称:“感谢您的关注~射频技术应用于家用美容仪已历经多年市场验证,技术成熟稳定,是行业广泛采用的核心技术之一。在国家发布射频医疗器械认证政策后,初普已第一时间响应,各项合规工作正按官方流程推进,后续最新进展将通过初普官方渠道公示,欢迎持续关注。”
回应看似稳妥,却始终没有给出明确的取证进度与时间节点。距离2026年4月1日越来越近,留给初普的时间,已经不多了。
面对监管重压,初普并非没有动作。
初普官网宣称2024年已推动技术迭代,推出TriPollar金刻刀美容仪,试图以“声光电一体”的全新定位,跳出传统射频美容仪的监管框架。
可这波“曲线自救”,并不能掩盖其核心射频产品无证的事实,反而更凸显出品牌在合规路上的被动与窘迫。
02
当年卖得有多火,后来翻车就有多惨
作为最早把医美热玛吉“搬回家”的高端品牌,初普的起点堪称顶配。
它背靠以色列Lumenis科医人的医美背景,手握Pollogen的射频技术积累,自带“医美基因”光环。
那段时间,初普Stop系列堪称现象级爆款。
在李佳琦等头部主播的直播间,它曾创下一小时销量破亿、双十一预售单日成交额1亿美元的惊人战绩。
2020年在中国市场GMV逼近10亿元,连续三年稳居天猫“双11”面部美容仪销量前三,是名副其实的“贵妇美容仪”,更是高端家用射频赛道的标杆。
靠着“以色列进口”“医美大厂背书”“强效抗衰”的标签,初普拥有极高品牌溢价,普通机型定价3000元以上,依旧供不应求,收获了大批忠实用户。
只是盛极而衰的伏笔,早已在高光时刻悄悄埋下。
就在初普风头正盛时,一场大规模产品召回,直接打碎了它的完美形象。
凤凰网财经《公司研究院》了解到,2022年,根据《消费品召回管理暂行规定》,初普被要求召回2020年3月—2021年9月期间进口的第一代Stop Eye型号家用射频美容仪,涉及数量高达182215台。
召回原因直指安全隐患:该产品若在使用时长时间停留在同一位置,或移动过慢,探头可能出现温度过高,极端情况下会导致皮肤烫伤。
事后,初普虽承诺对涉事产品免费维修、加装温控器,并发布安全使用视频,但这场召回,已经撕开了初普在安全与品控上的漏洞。
如今,Ⅲ类医疗器械大限将至,曾经的技术优势、市场光环,在“无证”面前都变得苍白。
李海权律师表示:“根据《医疗器械监督管理条例》,无证生产、销售第三类医疗器械属于严重违法行为。”
“《条例》第八十一条明确规定,有下列情形之一的,由负责药品监督管理的部门没收违法所得、违法生产经营的医疗器械和用于违法生产经营的工具、设备、原材料等物品;情节严重的,责令停产停业,10年内不受理相关责任人以及单位提出的医疗器械许可申请,对违法单位的法定代表人、主要负责人、直接负责的主管人员和其他责任人员,没收违法行为发生期间自本单位所获收入,并处所获收入30%以上3倍以下罚款,终身禁止其从事医疗器械生产经营活动。”李海权进一步透露。
目前,初普寄希望于金刻刀产品“错位求生”,试图绕开射频赛道的监管,另辟蹊径。但对初普而言,一旦退出射频赛道,等于丢掉了赖以成名的基本盘,多年积累的技术优势、品牌心智、用户口碑都将大打折扣。
一边是无证不能卖、有证拿不到的绝境,一边是放弃射频就伤筋动骨的现实困境,初普陷入了前所未有的两难。
如今,初普面临的早已不是营销战,而是关乎生死存亡的合规硬仗。
美容仪赛道从不缺昙花一现的爆款,但能走得长远的,永远是把安全放在首位、把合规刻进骨子里的品牌。
随着“居家轻医美”正式迈入严监管时代,谁能持证上岸,谁将黯然退场,答案即将揭晓。
